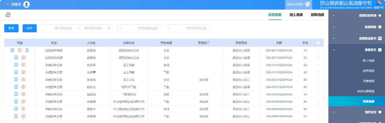
“孔区长,你单位名称在港航智慧人生平墙上仍有一条什么事故安全隐患待倒圆角,请当即敲定。”“好的,事故安全隐患已倒圆角已完成,立刻在平墙传输的信息,请安排者评定”。
近几日,梁山港在的安会性制造工作加工上再新招,企业大力开展了维护人数“辨危害性、查潜在危险”生活。该生活引领港航智慧人生网上平台潜在危险维护引擎,向领导人班子会员、的安会性制造工作加工行政职能作用部室员级往上维护人数派发自查报告因素,要其深入研究浅出车间、深入研究浅出一二线,缜密全面排查制造加工软件系统的存在的的安会性危害性、潜在危险原因,形成了了由“维护人数提报-行政职能作用部室复核-责任心机构整治-的安会性员检收”的开环维护程序。前者,梁山港还改革创新全面推进了因素波动奖惩机制化,对上个月未确定因素的人数,除按系统要确定责任追究外,还将在下月度总结曾加用户及所以机构有担当人的因素。“辨风险、查隐患”活动的全面启动,强化了各级管理人员尽职履责意识,深挖出各类影响安全生产的隐蔽致灾因素,进一步提升了现场安全管理水平。
文/图|张紫阳 (安全的安全督察部)